Programmation in situ avec le LaunchPad de Texas Instruments
La gamme MSP430 de microcontrôleurs 16 bits de Texas Instruments a été lancée en 1992. Pour remettre les choses dans leur contexte, George Bush (père) était alors président des États-Unis, la navette spatiale Endeavor venait d'être lancée pour la toute première fois et Microsoft présentait Windows 3.1. Inutile de préciser que le MSP430 est un microcontrôleur d'une grande longévité, au pédigrée impressionnant. Il a été conçu en tant que microcontrôleur 16 bits basse consommation à signaux mixtes pour les dispositifs embarqués. Depuis sa création, il est utilisé dans d'innombrables produits.
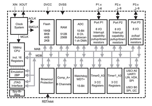
Passons maintenant de 1992 à 2017, l'année où j'ai découvert la série MSP430 alors que je travaillais sur la conception d'un produit dans mon laboratoire. J'ai fini par choisir le MSP430G2553IPW20 (Figure 1) en raison de son faible coût, de sa basse consommation et de son vaste ensemble de capacités, notamment plusieurs convertisseurs analogique-numérique (CAN) et temporisateurs, des performances 16 mégahertz (MHz), un grand nombre de broches E/S à usage général (GPIO), un émetteur-récepteur universel asynchrone (UART), une interface périphérique série (SPI), ainsi qu'une interface I2C.
Figure 1 : Le schéma fonctionnel du MSP430G2553IPW20 montre un grand nombre de ses capacités. (Source de l'image : Texas Instruments)
Mais pour être tout à fait honnête, j'ai choisi ce modèle parce que j'avais acheté plusieurs années plus tôt un kit LaunchPad MSP-EXP430G2 (aujourd'hui obsolète) de Texas Instruments, qui servait d'émulateur/programmateur pour le MSP430G2553. Ce kit prenait la poussière dans mon laboratoire et je me suis dit qu'il fallait au moins l'essayer.
Je n'ai pas été déçu ! On m'a reproché d'être un fan inconditionnel de Texas Instruments, mais j'ai trouvé que le MSP430G2553IPW20 était plutôt puissant et facile à comprendre (malgré un mode d'emploi de plus de 700 pages !).
En utilisant le kit LaunchPad et l'environnement de développement intégré (IDE) Code Composer Studio gratuit de Texas Instruments, j'ai pu générer le micrologiciel de mon produit en un rien de temps. Il existe aussi un IDE open-source appelé Energia qui prend en charge la ligne de produits MSP430. Energia fournit un environnement de développement très similaire à l'IDE Arduino, qui est tout aussi intuitif.
Même si je me suis fait les dents sur la programmation du MSP430G2553 avec le LaunchPad MSP-EXP430G2 (le kit maintenant obsolète), je suis depuis passé à la version MSP-EXP430G2ET (Figure 2). Hormis le remplacement de l'interface USB Mini par une interface USB Micro, l'ajout d'une source 5 volts (V) et l'amélioration des supports pour poser la carte sur l'établi, les deux programmateurs sont à peu près identiques. Les deux programmateurs présentent une embase DIP à 20 broches pour le microcontrôleur MSP430G2553, et prennent tous les deux en charge les dispositifs MSP430G2xx2, MSP430G2xx3 et MSP430F20xx dans des boîtiers 14-DIP ou 20-DIP.
Figure 2 : Le kit LaunchPad MSP-EXP430G2ET simplifie la programmation des microcontrôleurs MSP430. (Source de l'image : Texas Instruments)
Utiliser le MSP430G2ET en tant que programmateur in situ
Si le programmateur MSP-EXP430G2ET est assez facile à utiliser pour la programmation d'un microcontrôleur raccordé à l'embase DIP intégrée, il peut également être utilisé en tant que programmateur in situ. Texas Instruments a développé un protocole spécialement conçu pour le MSP430, appelé Spy-Bi-Wire (SBW). SBW est une implémentation à deux fils du protocole JTAG (Joint Test Action Group). Les deux broches associées au protocole SBW sur le kit LaunchPad MSP-EXP430G2ET sont les broches RST et TEST.
Si votre conception utilise l'un des modèles pris en charge de la gamme MSP430 mentionnés ci-dessus, vous pouvez utiliser le MSP-EXP430G2ET pour la programmation in situ en connectant les broches Vcc, RST, TEST et GND (broches 1, 16, 17 et 20 sur les dispositifs MSP430G2x13 et MSP430G2x53 à 20 broches) du programmateur à une embase exposée de votre conception (Figure 3). Si votre conception est alimentée de manière autonome, vous n'avez pas besoin de la connexion Vcc.
La broche RST est à l'état HAUT lors de la programmation du MSP430, et il est donc recommandé d'y ajouter une résistance de 4,7 kilohms (kΩ) en série pour limiter sa consommation de courant. J'ai utilisé cette approche SBW pour des centaines de produits et elle a toujours fonctionné à merveille.
Figure 3 : Le kit MSP-EXP430G2ET peut être utilisé en tant que programmateur in situ en le connectant à une embase MSP430 exposée sur votre conception. (Source de l'image : Doug Peters)
Conclusion
Étant donné son âge, la série MSP430G2xx2 peut sembler dépassée pour certains, mais ne la négligez pas pour votre prochaine conception. Elle offre d'innombrables capacités et affiche plusieurs décennies d'utilisation fiable et éprouvée. Vous trouverez tout le support nécessaire en ligne, ainsi que des centaines d'exemples pour vous aider à régler les éventuels problèmes rencontrés. N'oubliez pas de vous procurer le kit LaunchPad MSP-EXP430G2ET pour avoir aussi un programmateur in situ hors pair !
Have questions or comments? Continue the conversation on TechForum, DigiKey's online community and technical resource.
Visit TechForum




