Constant-Voltage/Constant-Current Devices Optimize Li-Ion Battery Charging for Energy-Harvesting
Avec la contribution de Electronic Products
2012-11-28
Lithium-ion batteries have emerged as a common energy-storage device in many energy-harvesting applications. For engineers, maximizing battery performance and lifecycle requires use of battery charging circuitry able to account for the specialized characteristics of Li-ion cells. Engineers can cost-effectively build in Li-ion-charging functionality using available ICs from manufacturers including Analog Devices, Diodes Inc., Fairchild Semiconductor, Fujitsu Semiconductor, Intersil, Linear Technology, Maxim Integrated, Micrel, Microchip Technology, and Texas Instruments.
Unlike many other battery technologies, Li-ion cells require a charging profile maintained within a tight envelope. An undercharged Li-ion battery simply cannot provide its full rated energy output. On the other hand, charging circuits cannot afford to push Li-ion battery voltage above recommended limits or apply charging currents that exceed manufacturer-recommended levels. In either case, application of overvoltage or excessive charging current begins to break down Li-ion cells, reducing overall battery life or even resulting in catastrophic failures. For engineers, the challenge is maximizing charging rate and cell voltage without overcharging the cells.
To achieve this balance, Li-ion charging typically follows a two-phase approach (Figure 1). In the first phase, typically called the constant-current, or current-limit, phase, the cell is charged at the maximum charging rate recommended by the battery manufacturer. This rate, typically called the 1C rate or fast-charging rate, is a charging current equal to the ampere-hour rating of the cell. When the cell reaches a specified set-point voltage, typically 4.2 V, cell capacity has reached only 65 percent to 70 percent of its maximum value but further fast-charging rates risk damaging the cells. As a result, charging circuits switch to the second phase, or constant-voltage phase. Here, the charging circuit will provide only enough current to maintain the voltage of the battery constant at this set-point voltage. As a result, the charging circuitry will continually reduce the charging current over time, resulting in a gradual decay of the charging current profile as shown in Figure 1.

IC manufacturers have continually optimized IC implementations of this type of constant-current/constant-voltage (CC/CV) charger, augmenting the basic CC/CV charging circuit with a range of features. For example, devices such as the Micrel MIC79050, designed for very lost-cost applications, nevertheless combine CC/CV charging with thermal shutdown and current limit protection features. Other devices such as the Diodes APM8600 and Microchip Technology MCP73841 augment basic CC/CV charging circuit and thermal shutdown with more sophisticated safety features including charge timers for setting time-outs for separate charging phases.
As with many devices in this class, the Diodes APM8600 IC extends the basic Li-ion charging profile shown in Figure 1. Here, the device precedes the conventional CC/CV profile with a special charging mode for severely depleted batteries and follows it with a top-off mode — all programmable using external resistors and capacitors (Figure 2).

A resistor RSETI connecting the SETI pin to GND programs the maximum charge current SETI. As shown in Figure 2, the device applies limited charge current determined at a set ratio of 150/RSETI during the prequal stage for severely depleted batteries. At the end of the prequal stage, the charging current profile shows the familiar constant-current phase followed by decay when the battery reaches the set point. At a final stage, the device maintains a small current (set to 112.5/RSETI) to "top off" the battery.
As mentioned earlier, CC/CV devices typically offer some form of temperature monitors and thermal limiting capability. As with the Diodes APM8600, the Fairchild MC34673 includes a charge current thermal fold-back feature, which limits the charge current when the IC internal temperature rises to a preset threshold (Figure 3).

Designed as a fully integrated battery charger, the MC34673 requires only two external capacitors and one resistor to provide a complete CC/CV battery charging solution for Li-ion and Li-polymer chemistry batteries. As with the Diodes APM8600, engineers use an external resistor to program the maximum CC-mode current for the Fairchild device.
Other similar devices extend CC/CV charging capabilities with a broad range of additional features. For example, the Intersil ISL9230 includes a power-path management function, which controls charge current and system current. Here, because available input current is either limited by the ISL9230 or by the input power source, the ISL9230 splits the input current between the battery and the system, first allocating available current to the system load.
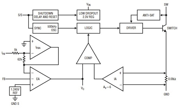
Although many CC/CV charging ICs are based on linear regulators, devices such as the Analog Devices ADP5065, Fujitsu Semiconductor MB39A134, Linear Technology LT1512, and Texas Instruments BQ24610 rely on switching regulators for controlling output current and voltage. The Linear LT1512 uses a current mode switcher, where the switch is turned on at the start of an oscillation cycle and turned off when the switch current reaches a preset level. The output of a dual-feedback voltage-sensing error amplifier is used to set the switch-current level to control output voltage and current. The error amplifier, shown in the lower left of Figure 4, allows for sensing both output voltage and current. Here, one inverting input of the error amplifier is brought out for voltage sensing, while the second is driven by an amplifier that senses output current using an external resistor.

Engineers can find CC/CV charging ICs designed to work in standalone fashion or a combination with a microcontroller. Engineers can use an MCU to control charging with the Maxim Integrated MAX8814, for example, by driving the device's EN enable input high to disable or low for normal charging operations. In this type of MCU-based design, engineers would monitor charging current by measuring voltage across the resistor used to set maximum charge current.
Conclusions
Constant-current/constant-voltage ICs offer basic charging capabilities required for maximizing performance and lifecycle of Li-ion batteries. Building on basic support for CC/CV charging, a broad range of available ICs provides more sophisticated battery protection and power management features in a range of package options. By leveraging these off-the-shelf solutions, engineers can easily add Li-ion battery-charging functionality to their designs.
Avertissement : les opinions, convictions et points de vue exprimés par les divers auteurs et/ou participants au forum sur ce site Web ne reflètent pas nécessairement ceux de DigiKey ni les politiques officielles de la société.


