Wellness Wearable Biosensing Front-End Design is Tricky; These Dev Kits are a Lifeline
You may not realize it, but you’re already well acquainted with aerospace engineer Edward Murphy. He worked on safety-critical systems, but any bioengineer can relate to the adage that anything that can go wrong will go wrong. Even in seemingly straightforward systems where there’s good knowledge and understanding about each of the individual pieces, putting them all together can yield something much less than the sum of its parts.
You'll likely become very well acquainted with this phenomenon—and with Murphy’s Law—if you’re creating a custom design for a health and fitness wearable that can deliver accurate measurements.
The concepts behind measuring vital signs using a photoplethysmogram (PPG) or electrocardiogram (ECG) are certainly well understood. Engineers know that they can find PPG-derived heart rate by measuring changes in blood volume in peripheral blood vessels or determining ECG-derived heart rate by monitoring bioelectrical activity generated by cardiac muscle. They understand the simple theory behind estimating peripheral oxygen saturation (SpO2) by taking advantage of the difference in absorption spectra of oxyhemoglobin vs deoxyhemoglobin. Engineers are also becoming acquainted with more sophisticated measurement capabilities such as the use of pulse transit time (PTT) or pulse arrival time (PAT) to build cuffless blood pressure monitors.
These various measurements rely on similar signal chains of amplifiers and filters for conditioning sensor signals delivered to an analog-to-digital converter (ADC). Using the converted data, a microcontroller (MCU) executes well-documented algorithms to generate values for heart rate, SpO2, blood pressure, and more.
Acquiring clean biosignals
Developers can take advantage of a wealth of low-power, high-precision devices for building custom signal chains and processing subsystems to differentiate their health and fitness products. In most cases, however, the availability of specialized off-the-shelf biosensors eliminates the need to build your own biosensor signal chain for these applications.
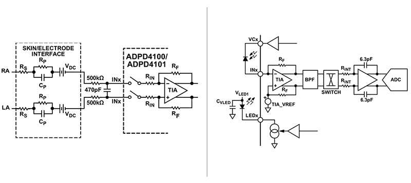
Devices like the MAX86140 and MAX86141 from Analog Devices are designed specifically for optical PPG methods. For biopotential ECG measurements, Analog Devices’ MAX30003, AD8232A, and AD8233A implement the required signal chains. Analog Devices’ ADPD4100 and ADPD4101 can support both types of measurements. These multimodal analog front-ends (AFEs) integrate a pair of multichannel signal conditioning chains comprising a trans-impedance amplifier (TIA), bandpass filter (BPF), integrator, and ADC.
Developers can use this AFE as the foundation for both bioelectrical-based single-lead ECG measurements (Figure 1, left), and optical-based PPG measurements (Figure 1, right), as it is very well-suited to consumer wearables.
Figure 1: Analog Devices’ ADPD4100 and ADPD4101 AFEs support both PPG (left) and ECG (right) measurements. (Image source: Analog Devices)
These specialized biosensors help speed development, but they don't save you from all the things that can go wrong when dealing with biological systems. Unpredictable (but not unexpected) artifacts like transient ambient sources and skin inhomogeneity affect PPG, while electromagnetic interference (EMI) and a whole host of physiological electrical signal sources like skeletal muscle contraction complicate ECG. (The impact of these various artifacts on signal-to-noise ratio (SNR) can sometimes be overwhelming as I found out during my dissertation research. I had to delay my primary objectives to build a kind of machine learning (ML) based subsystem just to acquire clean biosignals.)
Given the nature of biological systems, even with a complete understanding of the theory behind PPG, ECG, PAT/PTT, and other biophysical methods, developers can find that designing a health or fitness wearable is not the easy walk in the park that it might seem. If they focus only on their signal chains and algorithms, developers can easily find their own work sidetracked by the need to deal with the vagaries of acquiring clean biosignals.
Using biosensor development kits, however, developers can build rapid prototypes to begin exploring the effects of different light wavelengths, electrode placement, or the many other opportunities to optimize biosignal acquisition (or just to get it working in the first place).
Specialized kits for prototyping wellness wearables
Kits such as Analog Devices’ EVAL-ADPD4100Z-PPG evaluation kit and MAXREFDES103# health sensor band are designed specifically to speed the development of wellness wearables. During development, the EVAL-ADPD4100Z-PPG is programmed using the company’s EVAL-ADPDUCZ Cortex-M3 microcontroller-based motherboard attached through the kit board’s USB micro connector port. After detaching the USB cable, developers can test their designs in situ by attaching the provided wristbands through cutouts on the board (Figure 2).
Figure 2. Analog Devices’ EVAL-ADPD4100Z-PPG evaluation board can be worn on the wrist to study real-world biosensing conditions. (Image source: Analog Devices)
The MAXREFDES103# kit combines a sensor subsystem based on the MAX86141 biosensor with a comprehensive host subsystem based on the MAX32630 MCU in a prebuilt wearable package. Along with buttons and a color light-emitting diode (LED) for displaying device state, the wearable package provides a USB Type-C connector for attaching a provided adaptor board for firmware updates (Figure 3).
Figure 3: The MAXREFDES103# health reference design includes a wearable for studying biosensor applications in the field. (Image source: Analog Devices)
Perhaps most important, each kit comes with a software package for analyzing measured data, enabling developers to study waveforms generated during continuous measurement under different sensing configurations and examine the impact of intentional or accidental artifacts. Analog Devices’ Wavetool Evaluation Software lets developers run the EVAL-ADPD4100Z-PPG in different application modes including SpO2 and ECG modes.
Analog Devices’ MAXREFDES103# reference design software package includes its DeviceStudio application, which allows developers to configure the biosensor and embedded algorithms for heart rate and SpO2. Also available is the company’s Health Sensor Platform—an Android app that provides additional algorithms for sleep quality, respiration rate, and heart rate variability (HRV). The latter metric has gained particular attention from the medical community as a non-invasive way to monitor changes in an individual’s autonomic nervous system.
Conclusion
Designing biosensing signal chains for wearables from the ground up is not for the faint of heart. However, if you do decide to build your own, the specialized dev kits described here can serve as a vital lifeline as you work your way through the very real challenges associated with biosensing.
Have questions or comments? Continue the conversation on TechForum, DigiKey's online community and technical resource.
Visit TechForum




